Evidently, Amazon.com has read hockey great Wayne Gretzsky’s famous quote: “I skate to where the puck is going to be, not where it has been.” Amazon thinks it knows you so well it wants to ship your next package before you order it. The Wall Street Journal (Jan. 17, 2014) writes: “The Seattle retailer gained a patent for what it calls anticipatory shipping, a method to start delivering packages even before customers click buy.”
The technique could cut delivery time and discourage consumers from visiting physical stores. Amazon says it may box and ship products it expects customers in a specific area will want – based on previous orders and other factors — but haven’t yet ordered. The packages could wait at the shippers’ hubs or on trucks until an order arrives. In deciding what to ship, Amazon said it may consider previous orders, product searches, wish lists, shopping-cart contents, returns and even how long an Internet user’s cursor hovers over an item.
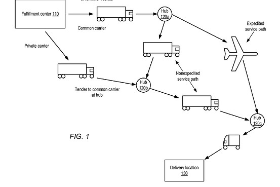
Today, Amazon receives an order, then labels packages with addresses at its warehouses and loads them onto waiting UPS, USPS or other trucks, which may take them directly to customers’ homes or load them onto other trucks for final delivery. It has been working to cut delivery times, expanding its warehouse network to begin overnight and same-day deliveries. The patent demonstrates one way Amazon hopes to leverage its vast trove of customer data to edge out rivals.

Discussion questions:
1. What are the dangers in this concept?
2. Is this more realistic than using drones to ship packages?
